Sony vill att AI tar över kontrollerna när du fastnar i spelet
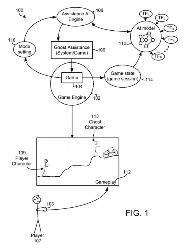
Sony har nyligen ansökt om ett nytt AI-relaterat patent som kan komma att förändra hur vi spelar spel i framtiden. Patentet beskriver en funktion som kallas "Ghost Player" - ett AI-styrt spöke som antingen visar hur du ska lösa ett problem eller helt enkelt tar över kontrollerna och spelar åt dig.
Tanken är att spelare ska kunna aktivera en slags assistans direkt i spelet om de kör fast vid en kämpig boss eller ett klurigt pussel. I Guide Mode får du se en AI-styrd version av din karaktär som visar rätt lösning, medan Complete Mode låter systemet faktiskt genomföra delen åt dig.
Det här bygger vidare på Sonys nuvarande Game Help till Playstation 5, där tips och videoklipp kan visas i gränssnittet - men Ghost Player går mycket längre genom att verkligen interagera med spelet självt.
Patentet, som först lämnades in i september förra året, men först nyligen offentliggjordes, beskriver hur systemet kan tränas med verkliga gameplay-klipp från bland annat Youtube eller Twitch för att på så vis bäst lära sig lösa olika utmaningar.
Är en AI-assistent något som låter som en bra idé?

